商铺名称:上海昊沃阀门有限公司
联系人:吕经理(先生)
联系手机:
固定电话:
企业邮箱:765761533@qq.com
联系地址:上海市星云经济园区真北路3199号
邮编:201900
联系我时,请说是在五金机电网上看到的,谢谢!
天津哪里有BZ41Y法兰锻钢保温闸阀厂家
BZ41Y法兰锻钢保温闸阀产品简介:
主要用于石油、化工、冶金、制药等各类系统中,该阀门的夹套焊装于阀门的两法兰之间,阀门的侧面、底部设置有夹套的连接口,夹套中可自由地流过蒸汽或其它热的保温介质,确保粘稠介质可顺畅地流过阀门。
BZ41Y法兰锻钢保温闸阀安装说明:
1. 手轮、手柄及传动机构均不允许作起吊用,并严禁碰撞。
2. 双闸板闸阀应垂直安装(即阀杆处于垂直位置,手轮在顶部 )。
3. 带有旁通阀的闸阀在开启前应先打开旁通阀(以平衡进出口的压差及减小开启力 )。
4. 带传动机构的闸阀,按产品使用说明书的规定安装。

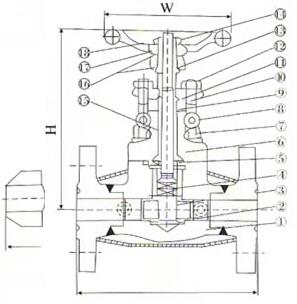
BZ41Y法兰锻钢保温闸阀产品性能参数和零部件材料:
|
序号 |
零件名称 |
CS to ASTM |
AS to ASTM |
AS to ASTM |
|||
|
Type A105 |
Type F22 |
Type F304(L) |
Type F316(L) |
||||
|
1 |
阀体 |
A105 |
A182F22 |
A182F304(L) |
A182F316(L) |
||
|
2 |
阀座 |
A276 420 |
A276 304 |
A276 304(L) |
A276F316(L) |
||
|
3 |
闸板 |
A276 410&403 |
A182 F304 |
A182 F304(L) |
A182 F316(L) |
||
|
4 |
阀杆 |
A182 F6 |
A182 F304 |
A182 F304(L) |
A182 F316(L) |
||
|
5 |
垫片 |
316夹柔性石墨+graphite |
316夹PTFESS+PTFE |
||||
|
6 |
阀盖 |
A105 |
A182F22 |
A182F304(L) |
A182 F316(L) |
||
|
7 |
阀盖螺栓 |
A193 B7 |
A193 B16 |
A193 B8 |
A193 B8M |
||
|
8 |
圆柱销 |
A276 420 |
A276 304 |
||||
|
9 |
填料压套 |
A276 410 |
A182 F304(L) |
A182 F316(L) |
|||
|
10 |
活节螺栓 |
A193 B7 |
A193 B16 |
A193 B8 |
A193 B8M |
||
|
11 |
填料压板 |
A105 |
A182 F11 |
A182 F304(L) |
A182 F316(L) |
||
|
12 |
螺母 |
A194 2H |
A194 4 |
A194 8 |
A194 8M |
||
|
13 |
阀杆螺母 |
A276 410 |
|||||
|
14 |
销紧螺母 |
A194 2H |
A194 4 |
A194 8 |
A194 8M |
||
|
15 |
铭牌 |
SS |
|||||
|
16 |
手轮 |
A197 |
|||||
|
17 |
润滑垫片 |
A472 431 |
|||||
|
18 |
填料 |
柔性石墨 |
PTFE |
||||
|
适用介质 |
水、蒸气、油品等 |
水、蒸气、油品等 |
硝酸、醋酸等 |
||||
|
适用温度 |
-29℃-425℃ |
-29℃-550℃ |
-29℃-180℃ |
||||
产品外形与结构尺寸:
|
尺寸和重量 150Lb-600Lb |
|||||||
|
NPS |
1/2 |
3/4 |
1 |
1 1/4 |
1 1/2 |
2 |
|
|
L(RF) L1 (BW) |
150Lb |
108 |
117 |
117 |
140 |
165 |
203 |
|
300Lb |
140 |
152 |
152 |
178 |
190 |
216 |
|
|
600Lb |
165 |
190 |
190 |
229 |
241 |
292 |
|
|
H(OPEN) |
150Lb,300Lb |
158 |
169 |
169 |
236 |
246 |
283 |
|
600Lb |
169 |
197 |
197 |
246 |
283 |
320 |
|
|
W |
100 |
100 |
100 |
160 |
160 |
180 |
|
|
2-G |
3-8 |
3-8 |
3-8 |
1-2 |
1-2 |
1-2 |
|
备注:900-1500Lb有差异
产品设计与制造标准:
1. 设计与制造:GB12234
2. 法兰尺寸:JB/T79 GB9113
3. 压力温度:GB9131
4. 结构长度:GB12221
5. 对焊连接尺寸:---
6. 检验与试验:GB13927