商铺名称:浙江正安防爆电气有限公司
联系人:孙昆(先生)
联系手机:
固定电话:
企业邮箱:809117096@qq.com
联系地址:浙江省温州市乐清市柳市镇环城东路27号
邮编:325604
联系我时,请说是在五金机电网上看到的,谢谢!
| 产品参数 | |||
|---|---|---|---|
| 品牌 | 正安防爆 | ||
| 尺码 | 211x167x80mm | ||
| 颜色 | 红\/黄 | ||
| 加工定制 | 否 | ||
| 是否进口 | 否 | ||
| 防护时间 | 30min | ||
| 手动供氧量 | 60L\/min | ||
| 重量 | 1.9KG | ||
| 安全标志证号 | MLA110084 | ||
| 可售卖地 | 全国 | ||
| 货号 | 33341 | ||










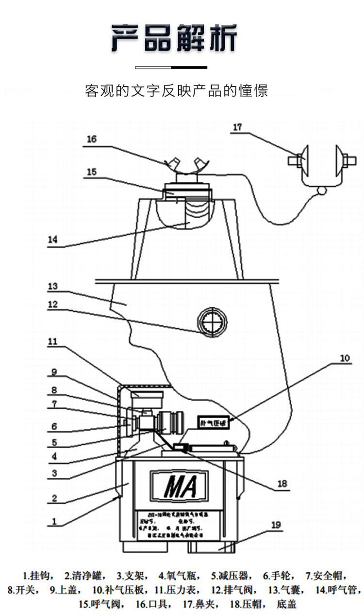
1111MicrosoftInternetExplorer402DocumentNotSpecified7.8 磅Normal0产品特点本自救器是以压缩氧气作为气源的隔绝再生式自救器,人体呼吸系统与外界隔绝,可以防止外界各种有毒有害气体进入,能满足遇险人员逃生时使用。本自救器具有三种供氧方式,定量供氧、自动补氧和手动补氧。使性能更加可靠、稳定。具有体积小、重量轻、携带方便等特点(外壳非金属材质符合GB3836.1-2010标准要求)。