商铺名称:西安新敏电子科技有限公司
联系人:崔经理(先生)
联系手机:
固定电话:
企业邮箱:1172591273@qq.com
联系地址:陕西 西安 西安市西安市雁塔区电子西街3号
邮编:710065
联系我时,请说是在五金机电网上看到的,谢谢!
产品型号CYB11W
产品名称:CYB11W系列微压力变送器
产品品牌:西安新敏传感器
一、产品简介
CYB11W 系列微压力变送器采用进口高精度、高稳定性微压力敏芯片,经严格精密的温度补偿,线性补偿,信号放大, V/I 转换,逆极性保护,压力过载限流等信号处理,将很微小的风压流量等参数可靠的转换成工业标准的4~20mA或0~10VDC信号输出。
该变送器可广泛用于食品,环保,冶金,电力,轻纺,电子,医药等领域对生产过程中十分微小的非腐蚀性干燥气体的压力进行测量和控制。可测10KPa以下的干燥气体,最小量程可达100Pa,是超净厂房和锅炉自动化检测的理想产品。
二、技术性能
量 程 范 围 | 0~±100、500…1000(Pa) | 精 确 度 | ±0.5%F.S ±1%FS |
0~±2、±5(KPa) | 长 期 稳 定 性 | ≤±0.3%F.S/年 | |
过 载 压 力 | ≤200%FS | 介 质 温 度 | -20~+85℃ |
测 量 介 质 | 非腐蚀性干燥气体 | 响 应 时 间 | ≤1ms |
输 出 信 号 | 4~20mA 二线制 | 压 力 接 口 | Φ8塔型接口 |
0~10VDC 三线制 | 电 气 接 口 | 电缆出线 | |
供 电 电 压 | 12~36VDC (标定值为+24VDC) | 壳 体 材 料 | 1Cr18Ni9Ti或铝合金 |
三、产品特点
●测非腐蚀性干燥气体的风压,流量
●可连续测量负压和正压
●灵敏度高,可测小于 100Pa 微小压力
●精度高,稳定性好
●抗干扰设计
●体积小,安装方便
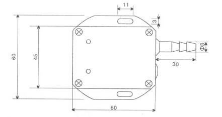
四、外形结构
